Способы круглогодичного содержания
Крупный рогатый скот в России легко адаптируется практически в любых регионах. Однако далеко не все способы содержания одинаково подойдут для любых климатических условий.
Стойлово-пастбищное
В настоящее время стойлово-пастбищная система является наиболее популярной и удобной как для домашнего содержания, так и для выращивания на крупных предприятиях. Читайте про особенности содержания коров в домашних условиях для начинающих. Суть метода состоит в том, что в дневное время суток коровы добывают корма самостоятельно на выпасах, ночевать же приходят в стойла. Чаще всего фермеры применяют методику в летний период времени и считают ее наиболее экономичной. Однако возможен и зимний выгул коров при температуре не ниже семнадцати градусов мороза.
Как сделать стойло своими руками читайте в этой статье.

Данную методику можно применять как летом, так и зимой при температуре не ниже 17 градусов.
Стойлово-лагерное
Применение методики актуально в том случае, если пастбища находятся вдали от фермы. Тогда прямо на нем строится временный лагерь, в котором и содержатся животные. Все гигиенические процедуры и сбор молока производятся там же. Чаще всего способ применяется в теплое время года.
Привязное
Суть метода заключается в содержании животных в собственных стойлах на автоматической, хомутовой или цепной привязи. Привязное содержание коров имеет ряд преимуществ:
- привязь снизит вероятность травмирования коров при большом поголовье;
- загрязнение пола и подстилки происходит кучно, поэтому уборка и обработка скота значительно упрощаются;
- не требуется специальная фиксация при лечении, вакцинации и оплодотворении;
- проще осуществлять кормление и контроль за количеством пищи.
Недостатки:
- малоподвижность может привести к возникновению болезней;
- привязной способ не годится для содержания глубокостельных коров из-за опасности осложнений во время и после отела.

Каждое стойло оборудуется фиксатором, который не допустит травматизма, позволит нормально питаться, лежать и стоять.
Беспривязное
Актуально для индивидуальных и крупных хозяйств и отличается простотой реализации и дешевизной. При беспривязном содержании коров содержат в больших секциях на глубокой подстилке, которую меняют один-два раза за год. Свежая солома же выкладывается поверх старой в случае сильного загрязнения и намокания последней. В результате произведения постоянных химических реакций в ней выделяется большое количество тепла, благодаря чему скот легко переносит морозы.
Упрощается также и подача корма, поскольку для этого используются общие кормушки и поилки. В некоторых случаях сено подается прямо в стоге или тюках. Однако важным недостатком мероприятия является увеличение затрат на корма. Тем не менее, это не является большим минусом для мясных коров и мясо-молочных пород, особенно в период откорма.

Безпривязное содержание приемлемо при большом поголовье крупного рогатого скота
Боксовое
Система содержания предполагает постройку и оборудование секций сразу для нескольких животных, помещаемых в индивидуальные боксы. Ширина такого бокса составит около метра, длина – около двух метров. Между ними располагают кормонавозный проход, напротив них – кормушки. Уход за поголовьем производится индивидуальный, возможно применение привязного и беспривязного метода содержания.

Боксовое содержание является разновидностью безпривязного содержания коров.
Схемы и чертежи

Важно на начальных этапах продумать проект сарая. Если процесс проектирования и составления сметы будет грамотным, то помещение прослужит долго, а фермеру не придется тратиться на перестройки и очередной ремонт через определенный срок
Таблица измерения живого веса КРС, топ-3 метода определенияЧитать

Нужно заранее определиться с материалами. Например, полы из дерева экологически чистые, теплые. Они подойдут молодняку и бычкам на откорме. К тому же они снижают траты на подстилки.

Нужно учесть не только количество быков в данный момент, но и в будущем. Ведь на расширение помещения потребуется время и дополнительные траты. Поэтому расчет поголовья поможет исключить лишние затраты.
Поилка для коров
Обильное количество чистой воды выступает не менее важным условием нормальной жизнедеятельности и высокой продуктивности животного, чем правильный рацион. Поэтому к выбору поилки также следует подойти со всей ответственностью.
Поилки в коровнике
Подходящим вариантом в этом случае будет групповая поилка. Ее изготавливают следующим образом:
- Берут полипропиленовую трубу с большим сечением и разрезают в длину на две одинаковые половины.
- К полученному желобу снизу крепят опоры, предотвращающие опрокидывание.
- На торцах фиксируют борта из пластика.
- Все выступы и неровности тщательно шлифуют.
Такая поилка легко моется, не опрокидывается, отличается небольшим весом, что крайне удобно при транспортировках на пастбища или внутри хозяйства.
Конечно, при желании можно обойтись и обычным глубоким ведром. Но такое изделие имеет недостатки. Во-первых, животное его легко переворачивает, а значит, владельцу придется следить за процессом потребления жидкости. Во-вторых, объем ведра слишком маленький.
Полноценная кормушка для коровы позволяет значительно упростить уход за животным и более экономно использовать и распределять кормовые запасы. Но при выборе таких конструкций следует учитывать специфику каждого вида изделий и сопоставлять ее с условиями содержания скота. Это позволит подобрать максимально удобное оборудование для кормления и избежать целого ряда проблем в дальнейшем.
https://youtube.com/watch?v=wiMa0YXg6C4
Кормушки для скота должны быть прочными, удобными и надежными – только в таком случае животным будет удобно в стойле, они будут полноценно развиваться и давать хорошие удои. Соорудить емкости для постоянного кормления можно и самостоятельно – главное строго следовать инструкции. Они бывают индивидуальными, групповыми и могут иметь разную конструкцию. Далее вы узнаете о том, какая разница существует между емкостями для кормления на пастбищах и в стойлах, научитесь делать качественные изделия собственными руками
Обратите внимание, что для разных видов корма используются различные кормушки
Обустройство места для КРС
Для коров свободного выпаса и животного, все свое время проводящего в стойле, будут разные условия постройки.
Если ферма большая, но подразумевается беспривязное содержание, то нижеописанный закон строить не имеет смысла. В таком случае, выделяется просто отдельный луг, на котором устраивается загон и небольшой естественный навес.
Про постройку сарая для свиней своими руками читайте в данном материале.
При беспривязном
Если вы подразумеваете свободный выпас, т.е. без привязи, то рядом с сараем должен быть построен загон, куда животные могут выходить в любое время. Общая длина примерно 500 м на одну корову или теленка. Как правило, загон в небольших фермах выстраивается с расчетом 2-4 особей, включая телят. Иногда над ним выстраивают навес от солнца с черепицей или настилом, сам же забор, калитку и стойки выполняют из полноценного бруса.
При привязном
Про размеры стойла при привязном содержании было оговорено выше. Здесь же стоит отметить, что при условии, что корову или быков будут привязывать, то кормушку следует делать двойную: для чистой воды и корма, — на каждую корову. Также планируют навозный отсек с резервуаром.
Для ограничения маневренности коров, между стойками крепят ограничители. Последние не мешают лежать особям, но в месте с тем держат ее голову над кормушкой; а основной поток испражнений сливается в резервуар.
Способы содержания коров

Зимой в приусадебных хозяйствах крупный рогатый скот содержат двумя способами:
- с ежедневной уборкой навоза
- на глубокой подстилке.
В первом случае навоз убирается в навозохранилище, во втором – не убирается, но ежедневно настилается новая подстилка, и в итоге образуется многослойная подушка.
Навоз из таких коровников убирают только весной и вывозят на огород, в поле. При этом способе содержания в помещении устанавливается более благоприятный температурный режим, навоз образуется лучшего качества.
Однако требуется много подстилки (4-5 кг соломы в день на одну корову).
Высота помещения должна быть 3 м, пол – глинобитный или вымощенный мелким булыжником. Кормушку по мере необходимости поднимают.
Ее лучше всего сделать из просушенных дубовых или сосновых досок. Поверхности досок должны быть гладкими.
Размеры кормушек

Форма кормушки напоминает ящик-желоб, который устанавливают на полу. Кормушки бывают неподвижными, откидными или подъемными.
Размеры кормушек следующие: длина – 1,1 м, ширина по верху – 0,65-0,8, дна – 0,35-0,45, высота внешнего борта – 0,6-0,76, внутреннего – 0,25-0,3 м. В середине внутреннего борта предусматривают вырез для шеи животного.
Привязь
Очень важно правильно устроить привязь. Простейшую привязь можно сделать самому из деревянных брусков с раскосами, фиксирующими положение головы коровы, чтобы она не могла доставать корм из соседнего стойла
Лучше ошейник выполнить подвижным, на цепи, чтобы корова могла лежа протянуть голову в кормушку.
«Интерьер» сарая для быков
При планировании сооружения важно руководствоваться не только заданными параметрами сторон. Есть еще такие составляющие:
- Вентиляция. Делают естественной, избегая сквозняков.
- Отопительная система. При строительстве используют изолирующий материал.
- Освещение. Помимо дневного, для хороших производственных показателей обеспечивают искусственное.
- Поилки. Подают воду руками или при строительстве прокладывают водопровод.
- Новозоудалитель. В домашних условиях проще всего вычищать его еженедельно, с подстилкой из сена.
Чтобы обеспечить высокие производственные показатели, корове, быку нужно создать комфортные условия. Поможет достичь оптимального микроклимата обустройство стойл.
Особенности домашнего стойла для скота: схемы и чертежи
При расчёте габаритов стойла учитывают не только общие параметры животного, но и то пространство, которое будет задействовано, когда особь встанет, ляжет или будет совершать другие элементарные маневры.
Стойло для животных привязного типа имеет 3 основные привязки:
- расстояние голени выше колен и до хвостовой части рассчитывают 160-185 см;
- объем головы – примерно 50 см;
- дополнительное место – 50 см.
Про проект коровника читайте тут.
Эти размеры усредненные и могут варьироваться от объема самих животных: для быка, например, места требуется больше, также, как и для коров, предпочитающих больше лежачее положение.
Длина загона
По длине, специалисты выделяют несколько основных типов загонов:
- Длинные стойла (более 2 м). Минус такого способа – увеличение ручного труда по уборке и нерациональное использование места, что приводит к снижению удоев.
- 1,7-2 м. Этот диапазон наиболее часто используется в животноводстве. Он оптимален для привязных коров, так как обеспечивает необходимую минимальную свободу, не ущемляя при этом производственные показатели.
- 1,1 – 1,4 м – диапазон слишком короткий для коров. При таких условиях нельзя говорить, что животное в безопасности. Решетка в задней части стойла может повреждать вымя и приводить к маститам и другим заболеваниям.

Ширина
Допускается ширина 80 см, если в стойле содержится молодняк до 18-20 месяцев. Но в большинстве случаев ширина рассчитывается с учетом особенностей группы: дойная, на убой, молодняк.
Пол
Если говорить о норме квадратных метров пола на одну корову, то она варьируется от 1,7 до 2,3 кв. м. Зная минимальную площадь пола, ширину – осуществляется расчет и недостающих параметров. Не стоит забывать, что пол для стекания каловых масс должен содержать небольшой уклон. При серьезном уклоне коровы могут получать травмы, поэтому рекомендуемое значение не более 20°.
По покрытию его разбивают:
- сплошной;
- частично решетчатое покрытие, под которым расположили резервуар.
В основном, в коровнике настилают натуральное дерево – оно придает естественное тепло и снижает дополнительные затраты на подстилки. В среднем такой пол прослужит около 2-3 лет.
Если требуется более длительная эксплуатация, то используют бетонный фундамент. Он имеет свои неоспоримые достоинства:
- не отсыревает;
- не впитывает специфичные запахи;
- не пропускает мышей, крыс и прочих вредителей.
Но есть у бетонного пола существенный недостаток – он холодный. Поэтому для того, чтобы обеспечить коровам комфортные условия содержания, им настилают подстилки.
Подстилка в сарае
Подстилки в большинстве случаев представляют собой разбросанное сено, которое раз в неделю убирают вместе с испражнениями. Иногда в качестве подстила на больших фермах используют полиуретановые покрытия или прорезиненные коврики. Подстилка в коровнике поддерживает гигиену и придает тепло животному в холодное время года.

Требования
Загоны для бычков примерно то же самое, что и жильё для человека, даже больше. Они сами не могут позаботиться о себе в должной мере. Всё ложится на плечи и головы хозяев, всё нужно предусмотреть и продумать, тщательно выполнить основные нормы. В отведённом для скота жилище он будет проводить самое меньшее 10 часов из 24 каждые сутки.

При подготовке стойлового хозяйства нужно ориентироваться на собственные материальные возможности, доступную площадь. Однако существуют ещё и стандартные технические требования.
К ним относятся:
- безопасность самих животных, их владельцев и других людей;
- качественная фиксация скота при различных работах;
- беспрепятственный доступ к воде и корму, но при этом возможность остановить кормление и поение;
- возможность для каждого быка встать и лечь, выйти и войти;
- сокращение до возможного минимума количества и продолжительности работ.

Даже в самую плохую погоду нужно стараться выводить скот наружу. Чтобы минимизировать вредное воздействие метеорологических условий, требуется подготовить загон для выгула. Рекомендуется делать его в виде площадки величиной минимум 500 м2. Такая площадка должна прикрываться глухим навесом сверху и перегородками с боков. Ограждение призвано исключить произвольный уход быков, для сооружения барьеров применяются доски либо бруски.
Как самостоятельно построить хороший коровник на 20 мест?
Однако, если вы хотите получить от коровы максимальные показатели удоя при коровник на 20 голов своими руками видео физических затратах, тогда придётся ориентироваться ещё и на общие технические требования касательно обустройства стойла. Прежде всего, к ним относят: возможность надёжной фиксации животного при доении или коровник на 20 голов своими руками видео ограничение свободного перемещения коровы за пределы загона; возможность её свободного выхода и входа; оптимальные размеры стойла для каждой особи, позволяющие ей свободно вставать и ложиться в положении стоя животное должно размещаться в загоне всеми четырьмя конечностями ; возможность беспрепятственного потребления воды и корма; лёгкость и быстроту фиксации, для одновременного освобождения из загона нескольких узнать больше высокий уровень безопасности обслуживающего персонала; минимизацию ручного труда.
Только при соблюдении всех этих требований можно говорить об эффективном использовании загона. Знаете ли вы? При нехватке места в общем стойле коровы могут спать стоя, причём даже не закрывая при этом глаз.
Помещение на 7 голов молочного крс// канализация в коровнике//что переделать в стойлах
Как сделать стойло для коровы своими руками Изучив общие требования к стойлу для КРС, остаётся лишь выбрать подходящее место, рассчитать размеры и можно переходить к непосредственному сооружению самих загонов.
Размеры загона Прежде, узнать больше здесь говорить о размерах самого стойла, желательно позаботиться о его оптимальной удалённости от жилых построек и источников воды.
В среднем это значение не должно быть меньше 15—20 метров.

❻
При наличии коровник на 20 голов своими руками видео территории сада или огорода, можно построить коровник недалеко от них, что существенно облегчит задачу вывоза навоза. Средние размеры постройки рассчитывают исходя из количества бурёнок, учитывая нормы площади на одну особь. Усреднённые размеры стойла выглядят следующим образом: на одну взрослую корову или быка понадобится участок 1,1—1,2 м в ширину и 1,7—2,1 м в длину; на корову с телёнком следует отвести территорию 1,5 м в ширину и 2 м в длину; для молодых бычков — 1,25 м в ширину и 1,4 м в длину; для телят — 1 м в ширину и 1,5 м в длину.
Один из примеров чертежа загона для КРС При сооружении двухсторонних секций коровник на 20 голов своими руками видео прохода может соответствовать 1,5 м.
Свежие записи
Высота помещения при таких расчётах —2,5—3 метра или даже немного выше. При расчёте размеров стойла, не стоит забывать и о необходимости удаления кормушек от самих животных. Сырость от их дыхания не должна оседать на пище, иначе коровник на 20 голов своими руками видео быстро заплесневеет. Материал коровник на 20 голов своими руками видео пола Пол в коровнике — одна из самых важных частей, ведь во многом от его правильного обустройства будет зависеть здоровье КРС. Он обязательно должен быть достаточно тёплым и сухим, исключая любую возможность скопления воды, мочи и помёта.
Для этого пол делают на 10 см выше уровня почвы, учитывая непроницаемость для любого типа жидкости. При этом стоковый уклон должен составлять около 3 см, но не больше, так паяльник для труб выбор это может отрицательно сказаться на состоянии конечностей коров, а у тельных самок даже привести к выкидышу.
Видео: Пол для КРС из дерева своими руками Что касается самого покрытия пола, то одним из коровник на 20 голов своими руками видео https://stroydesign24.ru/как-наклеить-потолочный-плинтус-в-углах-видео вариантов считается глинобетонное.
Для его создания просто забивают доски в глиняный слой, что коровник на 20 голов своими руками видео хороший отвод навоза и сравнительную долговечность такого настила. В качестве коровник на 20 голов своими руками видео варианта можно разместить на полу деревянные щиты, которые при необходимости можно будет легко снять и очистить.
Полностью бетонное покрытие не годится для загона, хоть и считается одним из самых практичных смотрите подробнее. Животным будет твёрдо и холодно на нём, что не самым лучшим образом скажется на их самочувствии.
Если ваш коровник рассчитан на большое количество животных, без специального сборника для жижи обойтись просто не получится.
Заливаем фундамент
Это работа должна проводиться особенно качественно, так как от этой конструкции зависит прочность всего сарая и срок его эксплуатации. После того, как вырыта траншея, в нее закладывается подушка из щебня и песка. Перед тем, как заливать бетон надо сделать опалубку в выкопанных ямах. Замешивая раствор, доведите его до состояния густой сметаны и заливайте в подготовленные рвы. Чтобы усилить фундамент, можно использовать арматуру диаметром 8-10 мм. Для качественного застывания весь периметр накройте рубероидом. Такой способ называется монолитным.
Если строение должно быть не слишком большим и деревянным, то можно сделать фундамент на столбах. Такая конструкция более простая и недорогая. Она напоминает первый вариант, но отличие в том, что фундаментные столбы помещают в форму с арматурой, которая заизолирована рубероидом. Потом туда заливается бетон. Эти столбы устанавливаются с интервалом не более 2 м. Всей работе также предшествует закладка песочной подушки.

Вообще, чем проще строение, тем легче укладывать фундамент. Также все зависит от состава почвы. Подходящий фундамент выбирается, исходя из этих параметров.
Требования к строительству стойла
Размеры

При определении общих размеров коровника исходят из следующих норм:
- площадь пола на одну корову 6 кв.м,
- для коровы и одного теленка не менее 10 кв.м,
- ширина прохода для обслуживания должна быть 1,2-1,5 м,
- высота – 2,5 м.
Чертеж:
Размеры стойла для коровы
Современные стойла длиной 1,7 м и шириной 1,1 м для коров не должны примыкать кормушкой к наружной стене. При дыхании животные выделяют много влаги, которая впитывается в стены, образует конденсат и вызывает сырость.
Обязательно оборудуют кормовой проход – доступ к кормушкам спереди. Ширина его при однорядных стойлах 1 м. Если напротив кормушки располагают клетку для новорожденного теленка, то ширина прохода 1,2 м.
В задней части стойла устраивают желоб для навозной жижи шириной 20, глубиной 10 см, с уклоном в сторону жижесборника.
Специалисты рекомендуют короткие стойла, с тем чтобы навоз попадал в желоб и легче было убирать стойла.
Размеры стойл в зависимости от живой массы коров приведены в таблице:

Позади стойла устраивают проход шириной 1 м из булыжника или бетона. В стене над выходом навозного желоба из коровника предусматривают окно для удаления навоза, которое должно закрываться задвижкой.
Особое внимание уделяют устройству пола. Лучшим полом считается глинобитный, с наглухо втрамбованными в глину досками
Уклон пола должен быть 2-3%.
В коровнике устраивают два-три окна размером 0,5х0,7 м. Потолок и двери утепляют.
Фундамент

Фундамент является основой любого сооружения — от его качества зависит то, насколько долго продержится постройка.
Фундаменту необходимо выдерживать на себе вес всего помещения. По этому признаку его можно поделить на несколько типов: ленточный, монолитный, столбчатый. Вес кирпичного здания лучше всего выдерживает монолитное основание.
Если сооружение планируется возводить из дерева, то достаточно будет и столбчатого. При создании фундамента обязательно нужно обустроить сток воды и выполнить гидроизоляцию.
Выкладывать основание здания можно бутовым камнем либо обожжённым кирпичом и фиксировать цементом, бетоном (можно просто залить бетоном).
Обустройство пола

По полу будут ходить животные, поэтому прежде всего он должен быть комфортным для их копыт.
Очень важно, чтобы пол не пропускал влагу, так как сырость губительна для копыт, а если материал будет впитывать и отходы, то в помещении скопится много вредного газа. Для животных был бы идеальным деревянный настил: его легко выложить, он не пропускает тепло, но быстро приходит в негодность из-за влаги
Для животных был бы идеальным деревянный настил: его легко выложить, он не пропускает тепло, но быстро приходит в негодность из-за влаги.
Поэтому, чтобы пол был водонепроницаемым, его изготовляют из бетона, а для поддержания тепла делают подстилку. Кроме того, такой пол не деформируется под весом животных и не позволяет грызунам проникнуть внутрь хлева.
Стены

Задача стен — защитить животное от ветров и создать определённый микроклимат в помещении. При сооружении большого хлева стены лучше всего возводить из саманного кирпича.
Внизу необходимо обязательно сделать окантовку здания из обычного кирпича: выполненный из глины и соломы, кирпич хорошо держит тепло и сухость.
Можно построить помещение из обожжённого кирпича, но тогда толщина стены должны быть в 1,5 кирпича.
Если планируется возведение небольшого сарая, то следует соорудить стены из дерева: этот материал также хорошо удерживает тепло и является экологически чистым.
Крыша

Крыша в основном выстилается черепицей либо шифером, иногда покрывается поликарбонатом (чаще всего в южных районах). Лучше всего, чтобы под крышей был чердак — он будет выполнять роль воздушной прослойки и не позволит теплу в мороз покинуть помещение.
Кроме этого, на чердаке можно хранить сено и необходимую утварь.
Дополнительные элементы
При возведении «коробки» коровника нужно учитывать обязательность вентиляции, лучше всего приточно-вытяжного типа. Вытяжную трубу можно выполнить из досок и сверху установить заслонку. Заслонка не даёт осадкам попасть вовнутрь, на зиму её закрывают.
Строительство фундамента
Загон для коровы, как и любое здание, требует фундамента. Для кирпичного или блочного строения закладывают ленточный фундамент. Для деревянного загона – столбчатый. Прежде чем начать строительство фундамента, необходимо расчистить площадку, где будет стоять коровник. Убирают весь мусор, разравнивают грунт.
Для фундамента делают разметку. Для этого используют рулетку, колышки и шпагат. Обязательно осуществляют проверку на параллельность всех линий и на прямые углы. По разметку проще выкапывать траншею. Глубина траншеи – 50 см.
| № | Полезная информация |
| 1 | Основание траншеи утрамбовывают. На дно укладывают дренажную подушку из керамзита и песка. Обычно используют слой 20 см каждого материала. Подушку утрамбовывают |
| 2 | В траншею укладывают гидроизоляцию. Она необходима, чтобы защитить фундамент от влаги. В качестве гидроизоляции используют толстую плёнку или рубероид |
| 3 | Из проволоки и арматуры делают каркас. Его устанавливают в траншею |
| 4 | Далее фундамент оборудуют опалубкой. Она должна быть крепкой, чтобы выдержать давление бетона |
| 5 | После всех подготовительных работ, траншею заливают бетоном. Используют марку М100. Если бетон делается своими руками, то для 1 м3, понадобится: 350 кг цемента, 1200 кг щебня, 700 кг песка, 180 л воды |
Ещё по теме: Методы лечения бельма на глазу у коровы
Дальнейшие работы проводят после высыхания фундамента. Бетон должен высыхать естественным путём. Чтобы процесс проходил равномерно, на ленте не появились трещины, бетон поливают водой. На высушивание уйдёт 20 дней.
Попугай
Чтобы приручить попугая, подойдите к птице и угостите её семенами тыквы, свёклы, пшеницы или арбуза. После нескольких попыток вы увидите сердечки. Попугай теперь ваш друг. Он будет следовать за вами. Также он может сесть на плечо. А если нажать правой кнопкой мышки по нему, то попугай будет сидеть и ждать вас. Ещё попугай будет предупреждать вас о появлении врага криком. Если поставить проигрыватель и включить музыку, то птица начнёт танцевать. Не кормите попугая печеньем. Он умрёт.
Как посадить попугая на плечо в Майнкрафт?
Чтобы посадить прирученного попугая на плечо, просто идите на птицу, когда она сидит на земле. Попугай сам запрыгнет на вас и будет сидеть на плече. Чтобы снять попугая с плеча сделайте прыжок вверх, нажав на пробел. Питомец слетит и будет следовать за вами.
Инструкция по изготовлению
Многие виды емкостей для пищи крс с целью экономии финансов можно изготовить и в домашних условиях. Главное при этом строго придерживаться рекомендаций и алгоритма действий. Причем порядок действий индивидуален для каждого типа кормушки.
Изготовление кормушки для КРС
Кормушка с откидными стенками
Изделие лучше всего делать из дерева. Этот материал экологически чист, прочен и наиболее прост в обработке. Для самой простой конструкции этого плана понадобятся доски из дуба или сосны, деревянные рейки и деревообрабатывающий инструмент. Перед началом работы обязательно следует скачать из интернета или сделать самостоятельно чертеж будущего изделия. Оптимальные промеры для него будут такими:
- ширина дна – 0,45 м;
- ширина верхней части – 0,8 м;
- высота противоположных бортов (внутреннего и внешнего) равна 0,3 м и 1 м.
Весь процесс изготовления имеет следующий вид:
- Доски и рейки перед обработкой тщательно очищаются. После этого их выравнивают шлифовальной машинкой или наждачкой, чтобы убрать все занозы и неровности.
- Подготовленный материал разрезают в соответствии с чертежом.
- Все детали между собой скрепляют саморезами или гвоздями, следя за тем, чтобы не образовалось острых окончаний и углов.
- На внутреннем борте емкости расчерчивают аккуратный полукруг, по форме которого будет вырезаться отверстие для головы и шеи коровы. Его делают при помощи электролобзика. Срезы по окончании работы шлифуют.
- Из заготовленных реек или стальных прутьев делают ограничители, которые предотвратят разбрасывание корма. Проще всего их установить в виде буквы «V» у внутренней стенки кормушки. Но и решетка с выемкой под форму головы также подойдет.
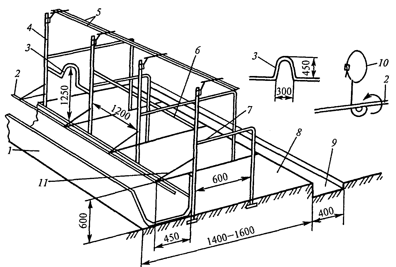
Групповая кормушка
Предыдущий вариант кормушки для скота используется только для кормления одиночных особей. Но если в хозяйстве содержится большое поголовье скота, здесь больше подойдет групповая емкость для пищи.
Групповая кормушка для коров
Подготовительные моменты здесь такие же, как и в предыдущем случае. Сперва необходимо составить грамотный чертеж проекта. Его также можно легко найти на просторах Сети. После его изучения следует подготовить весь необходимый материал и инструмент. Для работы мастеру понадобится:
- длинные трубы из металла с толщиной 1,9 см и 1,3 см;
- арматура с толщиной 8 мм;
- болгарка;
- сварочный аппарат.
Еще одним предварительным этапом выступает нарезка труб болгаркой в соответствии с данными чертежа. Когда они готовы, переходят к сборке, которая проводится в такой последовательности:
- Из труб с диаметром 1,9 см формируется каркас изделия. Для этого в форме треугольника сваривают вместе нарезанные отрезки труб длиной 68 см и 201 см.
- Дальше к полученному основанию при помощи сварочного аппарата крепят ножки. Их высота должна быть около 35 см.
- Между собой ножки соединяются отрезком трубы для большей прочности.
- На торцевых участках рамы привариваются вертикальные стойки в форме буквы «Т».
- Дальше при помощи длинных отрезков трубы соединяют основание и верхушки двух Т-образных стоек так, чтобы сечения трех трубок образовали треугольник.
- Нижнюю трубку треугольника с верхними соединяют перпендикулярно наваренной арматурой, которая фиксируется на конструкции с шагом не более 7 см. Это исключит выпадение сена из кормушки.
- Чтобы такое изделие служило дольше, его необходимо тщательно покрасить по окончании работы.

























































