Состав и действующее вещество
Специфика работы лекарственных пластин заключается в том, что насекомые задевают поверхность полоски, перемещаясь по улью. Это способствует контакту всех обитателей пасеки с раствором. После прикосновения пчелка распространяет вещество, тем самым устраняя вредителя.
Древесная полоска пропитана смесью акарицида, а действующем веществом лекарственного продукта Варроадез выступает экстракт кориандрового масла, Амитраз и другие вспомогательные вещества.
Основное действующее вещество Варроадеза – это амитраз. Это органическое соединение искусственного происхождения, являющееся акарицидом, то есть, средством, направленным на уничтожение конкретной группы членистоногих – клещей.
Другим компонентом препарата является кориандровое масло.
Выпускают препарат в виде полосок, хранящихся в герметичных фольгированных пакетах. Каждый пакет содержит 10 полосок длиной до 15 см.
Варроадез: инструкция, действующее вещество
Варроадез является эффективным акарицидом, позволяющим пчеловодам гарантированно избавиться от двух видов пчелиных паразитов – клещей варроа (Varroa destructor)и акараписов (Acarapiswoodi).Это узкоспециализированный пестицид с высокой результативностью. Соблюдая инструкцию по применению Варроадеза, можно избавить пчелиную семью от паразитов без жертв среди популяции самих медоносов.

Применение в пчеловодстве
Варроадез применяется в пчеловодстве для профилактики заболеваний семей пчел: варроатоза и акарапидоза. Считается, что в Евразии абсолютно все семьи пчел заражены Варроатозом.
Состав, форма выпуска
Основное действующее вещество Варроадеза – это амитраз. Это органическое соединение искусственного происхождения, являющееся акарицидом, то есть, средством, направленным на уничтожение конкретной группы членистоногих – клещей.
Другим компонентом препарата является кориандровое масло.
Выпускают препарат в виде полосок, хранящихся в герметичных фольгированных пакетах. Каждый пакет содержит 10 полосок длиной до 15 см.
Фармакологические свойства
Акарицидное воздействие препарата Варроадоз существенное. Наибольшую эффективность он имеет в случае применения против взрослых форм клещей пчел видов варроа и акарапис.
Традиционно амитраз используют в виде эмульсии в воде, которая затем применяется для опрыскивания, купания животных или изготовления контактных полосок. В Варроадезе применяется последний способ использования.
Концентрация действующего вещества при таком способе применения составляет от 200 до 500 мг/л, что является достаточно высокой концентрацией, однако, поскольку пчелы контактируют с небольшой площадью полоски, опасности для их жизни такая концентрация не представляет.
Инструкция по применению
Упаковку с Варроадезом открывают непосредственно перед его применением. Полоску препарата подвешивают в улье между центральными соторамками. Перед размещением полоски в улье следует проделать в ней по краям отверстия, чтобы зафиксировать ее точно в центре «улочки», по которой будут двигаться пчелы.
В зависимости от количества пчел и расплода в улье, время пребывания в нем полосок составляет от 3 до 30 дней.
Дозировка, правила применения
Дозировка Варроадеза зависит от размеров семьи пчел. Для крупных ульев (число медоносных рамок более 7) достаточно размещения двух полосок Варроадеза, для небольших ульев (с 6 и меньшим количеством рамок) – одной.
Побочные эффекты, противопоказания, ограничения к применению
Акарициды являются узкоспециализированной группой пестицидов, поэтому могут представлять опасность для насекомых (то есть пчел). Поэтому не рекомендуется превышать максимально допустимые дозы препарата (1-2 полоски на улей в зависимости от размера семьи).
Срок годности и условия хранения
Срок годности Варроадеза составляет 24 месяца с момента его изготовления.
Условия хранения стандартны для средств подобного рода – прохладное место (температура от 0-25 °С), лишенное солнечного света. Препарат хранится отдельно от продуктов и в месте недоступном детям.

Заключение
Инструкция по применению Варроадеза достаточно простая, применить препарат сможет даже начинающий пчеловод. Варроадез является высокоэффективным средством против клещей варроа и акраписов. На сегодняшний день – это самое эффективное средство против клещей у пчел.
Губительные последствия деятельности клеща
Пчёлы, как и любые живые существа, могут страдать различными заболеваниями
Но важной особенностью пчелиных болезней является то, что они легко передаются и распространяются из-за тесного контакта между особями. Поэтому одна пораженная труженица повлечёт за собой болезнь всего гнезда
Оттого очень важно своевременно обратить внимание на любые изменения в поведении своих питомцев, а тем более, если меняется их внешний вид. Особенно, если речь идёт о таком заболевании, как варроатоз. Вызванное клещом варроа, оно поражает не только взрослых пчёл, но и личинок
Вызванное клещом варроа, оно поражает не только взрослых пчёл, но и личинок.
Явными признаками развития заболевания являются:
а) Пораженные конечности и крылья пчёл и трутней;
б) На самих особях можно обнаружить небольшие бугорки, которые и представляют собой этих самых клещей;
в) Вредителя также легко обнаружить на личинках, так как они ярко выделяются на белоснежных тельцах куколок.
Каковы последствия данного заболевания?
Союз пчелы и клеща сложно назвать симбиозом, он истощает особей, молодые пчёлки рождаются слабыми, сокращается их продолжительность жизни и трудоспособность. Больные особи не могут нормально функционировать, заниматься обустройством сот, сбором нектара и пыльцы, и заботиться о расплоде.
Количество белковых веществ в их организме снижается, что негативно влияет на возможность успешной зимовки и ведёт к сильному подмору.
Поэтому вовремя принятые меры смогут уберечь не одно гнездо от губительной болезни, что важно не только для пчелиного семейства, но и для самого пчеловода. Среди большого количества импортных и отечественных средств используют три основных вида борьбы с вредителем:
Среди большого количества импортных и отечественных средств используют три основных вида борьбы с вредителем:
- Опрыскивание особей специальным раствором
- Обработка улья дым-пушкой
- Специальные полоски
Всё эти способы в своей основе имеют действующее вещество амитраз, которое эффективно используется в борьбе с клещом. Полоски против клеща используются не как основной метод, а как способ профилактики и закрепления результата.
Некоторые пчеловоды сходятся во мнении, что полоски менее токсичны, к тому же они никак не влияют на качество пчелиной продукции, в частности мёда, сохраняя не только его полезные свойства, но и безопасность для здоровья.
Состав и форма выпуска
Препарат относится к химическому классу пиретроиды. По действию на организм насекомых классифицируется и применяется в качестве акарицида, инсектицида и пестицида. Имеет высокую акарацидную активность.
По классу опасности воздействия на человека относится к третьему классу, по токсичности для пчел – 3 класс. Эти цифры означают, что для здоровья человека препарат при правильном применении является умеренно токсичным и безопасным для пчел-медоносов.

Действующим веществом, взятым за основу лекарственного препарата, является 23,3% тау-флювалинат (tau fluvalinat). Производится в виде концентрированной водно-масляной эмульсии. Фармакологические свойства – уничтожает личинки и взрослых особей клеща Варроа.
Специальные улей для борьбы с варроатозом
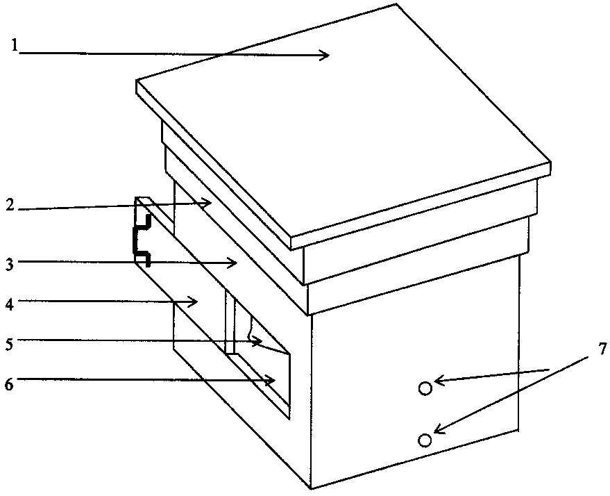
Улей для лечения пчел от варроатоза, имеющий по меньшей мере один корпус с летками на передней и боковой стенках, в котором расположены сотовые рамки для пчел и для приманивания самок клеща варроа, причем рамки для приманивания клеща размещаются непосредственно около летка в боковой стенке, отличающийся тем, что корпус улья имеет увеличенное на 1/3 его величины подгнездовое пространство, а ловушкой для клеща служит поддон, который устанавливается и удаляется через подвижную задвижку.
Улей состоит из крышы 1, подкрышника 2, корпуса 3, подвижной задвижки 4, трутневой соты 5, подгнездового пространства 6, летков 7.
Предлагаемая
полезная модель позволяет повысить эффективность подавления роста генерации
новых поколений клеща в семье пчел. Это достигается тем, что улей имеет
увеличенное на 1/3 величины корпуса подгнездовое пространство, в котором пчелам
предоставляется возможность строить трутневые соты, являющиеся эффективной
приманкой для самок клеща варроа, а ловушкой для клеща служит специальный
поддон, который устанавливается и удаляется через подвижную задвижку.
Способы применения, дозировка
Раствор готовят из расчета 100 мл препарата на 10 л сахарного сиропа (50%).
Дозировка и основные способы применения:
- Для лечения инфекций используют трехразовый подкорм с интервалом в несколько дней. Его нужно производить до полного исчезновения проявлений патологии. После того, как пчелиная семья полностью станет здоровой, следует дать еще одну дозу, чтобы закрепить положительный результат.
- Нозематоз лечат путем замешивания корма с лекарством, размещают на кормушках, в сотах или пакетах.
- При клещевой инвазии (акарапидозе или варроатозе) количество подкормок должно быть больше. Сироп следует давать 4 раза, выдерживая интервал не более 5 суток.
- В качестве профилактики лекарство можно применять единожды по весне после облета. Примерная доза – около 30 г средства на рамку.
Препарат нередко замешивают с канди. Флакона в 10 мл хватит на 5 кг корма. Лекарство следует тщательно перемешать с канди, а затем выложить в кормушку (50 г на каждую рамку).
Способы применения следующие:
- Инфекционные заболевания нужно лечить препаратом до полного выздоровления с интервалом 5 суток между подкормками.
- Для лечения нозематоза необходимо разовое применение, однако рекомендуемая доза – 60 г смеси на рамку.
- Длительного лечения потребуют варроатоз и акарапидоз – лекарство с подкормкой дают трижды с интервалом в неделю.
- Для профилактики заболеваний и укрепления иммунитета достаточно разового использования.
Обработка рамок в ульях
Схема применения следующая:
- При наличии инфекционных патологий, улья нужно обрабатывать до полного исчезновения симптомов с интервалом в 3 дня, а последнее опрыскивание должно состояться уже после излечения для закрепления результата.
- При нозематозе потребуется двухкратная обработка с перерывом в 2 дня.
- От варроатоза и акарапидоза улья обрабатывают трижды с трехдневным интервалом.
Показания к применению
Лекарственный препарат используют для лечебной либо восстанавливающей обработки пчелиных ульев против губительного заболевания Варроатоз. Это болезнь медоносных пчел, вызываемое клещом Varroa destructor. Этот вредитель питается кровью пчелки, которая ослабевает и в конечном итоге погибает.
Максимальная активность заболевания отмечается весной и в феврале, но может наблюдаться в любой период года. У больших семей на лицо признаки тревоги, пчелы вылетают из ульев и погибают, у зараженных особей заметно распухшее брюшко, местоположение семей в улье рыхлое. Также отмечаются такие признаки как: несимметричное движение крыльев, нестройный весенний облет.

Заклещенные Varroa destructor находятся в повышенной зоне риска для поражения другими вредителями: нозематом, гнильцом, вирусами и т.д
Поэтому важно постоянно следить за состоянием заклещенности. Допустимый максимальный уровень – 4 % при подготовке к зимовке
В настоящее время лучшим отечественным препаратом против вредителя Varroa destructor считается – Варроадез от компании ЗАО “Агробиопром”. Увеличенный срок воздействия позволяет уменьшить количество клещей в улье до минимального уровня. Чтобы концентрация препарата была оптимальной, рекомендуется использовать две полоски на 12 гнездовых ульев.
Варроадез — современное средство борьбы с клещём
Варроадез представляет собой сравнительно новый препарат, который, помимо основного вещества амитраза, содержит эфирные масла, в частности масло кориандра.
В инструкции отмечается, что данный препарат эффективен для лечения взрослых особей, что говорит о его результативности в ранний весенний период, когда не зацвели первоцветы, и в осенний период, перед подготовкой улья к зимовке.
Выглядит препарат в форме деревянных полосок, пропитанные действующим раствором, которые крепятся внутри улья.
Как работают полоски Варроадеза?
Специфика такого лекарства заключается в том, что когда насекомые перемещаются по улью, они трутся о стенки, касаясь самих пластин. Таким образом происходит прямой контакт пчёлы с пропитанной раствором полоской. Также это вещество она разносит по другим пчёлам, что помогает устранить вредителя естественным путём.
Некоторые пчеловоды отмечают, что в отличие от обычной обработки пчёл раствором или дымом, наличие полосок в улье повышает концентрацию действующего препарата. Это связано с тем, что если обработка улья раствором проходит единожды, то пластины крепятся на определенный срок, тем самым увеличивая период действия препарата.

Использование электрических полей для борьбы с варроатозом пчел
Проанализирован тепловой метод воздействия на пораженных пчел и сделан вывод о перспективности его реализации в сочетании с применением внешних электрических полей. На основе анализа селективного влияния сверхвысокочастотного электромагнитного поля на объекты разных геометрических размеров показана возможность достижения избирательного эффекта при нагреве пчел и клещей. С учетом фактических размеров обрабатываемых объектов определено, что максимальная селективность воздействия достигается при частоте поля 22…25 ГГц. Поскольку клещи располагаются на телах пчел, на момент воздействия сверхвысокочастотного электромагнитного поля их необходимо отделить. Для этого предложено использовать второе электрическое поле с частотой 450…550 Гц. Низкочастотное воздействие приводит пчел в состояние повышенной двигательной активности, сопровождающейся временным отделением клещей.
Техническую реализацию способа борьбы с варроатозом предложено осуществлять с применением сверхвысокочастотного генератора, выходные сигналы которого промодулированы низкочастотными колебаниями по амплитуде.
Воздействие низкочастотной составляющей электрического поля амплитудно-модулированного сигнала частотой 450…550 Гц вызывает быстрое повышение двигательной активности пчел, а последующее уничтожение клещей достигается влиянием высокочастотной составляющей. Экспериментально установлено отсутствие отрицательных последствий при воздействии на пчел энергией электрического поля в течение 10…15 минут.
При многократном повторении обработки эффект привыкания не наблюдался. Описанный способ может быть использован для борьбы с другими клещевыми болезнями пчел.
Для эффективной борьбы с варроатозом в новом способе применяются одновременно два электрофизических фактора: низкочастотная составляющая электрического поля (с частотой 450…550 Гц) и высокочастотная составляющая (с частотой 22,7…25,5 ГГц). При этом напряженность электрического поля не должна превышать 200 В/см и находиться в диапазоне 50…180 В/см. Энергия низкочастотного (низкочастотной составляющей) поля возбуждает пчел, повышает их двигательную активность и обусловливает стряхивание клещей, а энергия высокочастотного (высокочастотной составляющей) поля селективно воздействует на клещей, вызывая их интенсивный нагрев и гибель.
Бивароол: инструкция по применению
Бивароол – химическое средство, разработанное для лечения и профилактики варроатоза у пчел. Активные свойства препарата усиливаются, благодаря наличию в составе действующего вещества флувалинат. Действующий элемент является составляющим средств, которые используют для защиты посевов от вредителей. Препарат произведен при помощи Министерства сельского хозяйства России.

Применение в пчеловодстве
Варроатоз – хроническое, паразитарное заболевание. Возбудителем является клещ Варроа. Болезнь полностью еще не изучена, поэтому нет способов полностью избавиться от недуга. Однако есть средства, которые при системных обработках дают неплохой результат. ЗАО «Агробиопром» производит Бивароол для пчел.
Бивароол: состав, форма выпуска
Препарат реализуется в виде стеклянных флаконов и ампул емкостью 1 мл и 0,5 мл соответственно. Вещество имеет виджидкости с маслянистой консистенцией. Флувалинат – действующее вещество Бивароола.
Фармакологические свойства
Препарат Бивароол для пчел характеризуется ярко выраженным акарицидным контактным действием. Уничтожает взрослые особи Varroajacobsoni. Предотвращает появление популяций клещей, устойчивых к препарату.
Инструкция по применению
Обработку пчел Бивароолом устраивают с приходом осени и весны. Когда температура окружающего воздуха опускается ниже + 10 °С.Однако следует успеть выполнить процедуру за 10-14 дней до начала процесса откачивания меда. Тогда получится исключить попадание химических частиц в мед. Распаковывают Бивароол обязательно перед приготовлением смеси.
В кипяченой воде при температурой 40 °С растворить Бивароол для пчел в пропорциях 1:1. На ампулу объемом 0,5 мл потребуется 0,5 л теплой жидкости. Размешивают до появления однородной смеси молочного цвета. Для удобства раствор набирают шприцом по 10 мл. Повторяют процедуру обработки еще раз спустя неделю.

Дозировка, правила применения
При регулярной обработке одними средствами у клеща Варроа появляется устойчивый иммунитет. Поэтому многие пчеловоды в отзывах часто рекомендуют чередовать Бивароол с иными химическими веществами для пчел от клеща. Появляются новые методы и варианты проведения обработок.
Если соединить Бивароол с водой согласно инструкции, то под действием низкой температуры частички вещества просто осядут на рамках. Чтобы подобное не случилось, необходимо к уже приготовленной химической смеси 0,5 л добавить 60-65 мл керосина. Все тщательно взболтать. Полученный раствор заправляют в дым-пушки. Благодаря керосину дым получатся более сухим и проникающим. Струю подают два раза с промежутком во времени.
Заранее на дно улья выстилают бумагу, смазанную вазелином. Такой прием необходим, поскольку клещи осыпаются еще живые. Мгновенного эффекта ожидать не нужно. Результат будет виден через 12 часов.
При обработке пчел водным раствором Бивароола с помощью дым-пушки можно керосин заменить на растительное масло. Оба метода повторяют через неделю.
Бивароол и Бипин: что лучше
Среди отзывов потребителей сложно определить фаворита между Бивароолом и Бипином. Эти средства достаточно схожи между собой. Способ и инструкция по применению одинаковы. Отличиями являются состав и дозировка. Активное вещество Бипина – тимол, также препарат более концентрированный.
Побочные эффекты, противопоказания, ограничения к применению
В отзывах пчеловодов есть информация, что при применении Бивароол согласно инструкции, возникают проблемы со здоровьем у пчел. Подобное возможно, если не соответствовать дозировкам, указанным в рекомендациях к препарату. Побочных эффектов и противопоказаний не установлено. Мед после обработки пчел можно употреблять в пищу.

Срок годности и условия хранения
Бивароол для пчел разрешено сохранять в герметичной заводской упаковке не более 3 лет с момента производства. После этого срока вещество теряет свойства и может нести опасность. Дата изготовления указана на упаковке.
В помещении для хранения следует поддерживать температуру воздуха в диапазоне 0-20 °С, влажность не более 50%. Желательно не подвергать препарат прямым солнечным лучам длительное время. Исключить доступ детям или животным. Недопустимо попадания влаги внутрь упаковки.
Заключение
Бивароол – эффективное и безопасное средство в борьбе с клещом у пчел. Не стоит забывать про рекомендации к применению.
Аналоги и альтернатива
Если говорить об аналогичных средствах, то можно выделить два типа:
- Аналоги по действующему веществу
- Аналоги по форме выпуска
Среди аналогов по действующему веществу наиболее распространёнными средствами является Бипин, который представляет собой раствор в ампулах, и Амитраз и Амипол. Цены на эти средства также варьируются от 50 до 200 рублей.
А вот средств в виде полосок можно найти немало, среди них Апидез, на основе акарицида, Апилинол на основе ликама, большая часть средств на основе флувалината тоже выпускается в виде пластин.
В чём принципиальна разница между данными препаратами?
Если говорить о видах: полоски или раствор, то здесь всё очевидно, так как специфика этих лекарств заключается в способах обработки улья. Что касается действующих веществ тут может быть целый ряд нюансов:
- Время использования. Варроадез рекомендуют применять весной и осенью вне зависимости о того идёт ли речь о профилактике или лечении, а некоторые препараты предполагают свою реализацию и в межсезонье, а также в случае эпидемии варроатоза в улье.
- Действие на разные группы жителей улья. Здесь следует отметить, что определенные средства подходят только для обработки взрослых особей, а какие-то — только для личинок. Но существуют и лекарства с комплексным воздействиям, они, как правило, выпускаются в виде растворов.
- Профилактика или лечение. Тоже важный пункт, о котором упоминается в любой аннотации к лекарству. Одни средства могут быть использованы как профилактические, другие направлены на конкретную борьбу с клещом, где также есть своя градация: большинство лекарств разделяют по степени развития заболевания.
Шаблоны Инстаграм БЕСПЛАТНО
Хотите получить БЕСПЛАТНЫЙ набор шаблонов для красивого Инстаграма?
Напишите моему чат-помощнику в Telegram ниже
Вы получите: Бесплатные шаблоны “Bezh”, “Akvarel”, “Gold”
Telegram Viber Vkontakte
или пишите “Хочу бесплатные шаблоны” в директ Инстаграм @shablonoved.ru
Хотите получить БЕСПЛАТНЫЙ набор шаблонов для красивого Инстаграма?
Напишите моему чат-помощнику в Telegram ниже
Вы получите: Бесплатные шаблоны “Bezh”, “Akvarel”, “Gold”
Telegram Viber Vkontakte
или пишите “Хочу бесплатные шаблоны” в директ Инстаграм @shablonoved.ru
Описание болезни
Возбудитель инвазии – клещ Varroa destructor, круглогодично
обитает в пчелиной семье, питаясь гемолимфой личинок, куколок и взрослых
насекомых, вызывая их гибель. Ущерб от заболевания усугубляется тем, что
эктопаразит является переносчиком других патогенов пчёл, в частности, вирусов,
бактерий, грибов, в результате чего возникают смешанные инфекции-инвазии,
вызывающие ослабление и смертность пчелиных семей, особенно в период зимовки.
Наиболее часто встречаются протекающие на фоне варроатоза аскосфероз, европейский
и американский гнильцы, нозематоз, мешотчатый расплод. Максимальную опасность
для пчелиных семей, особенно в осенний период, вызывают вспышки вирусных
инфекций, проявляющиеся при значительной численности клещей варроа в ульях.
Это заболевание отличается от других известных в настоящее время инфекционных и инвазионных болезней пчел тем, что поражает расплод и взрослых особей круглогодично на всех фазах его развития. При высокой степени инвазии, пчёлы выходят из ячеек недоразвитые, снижается резистентность пчёл к различным возбудителям болезней.
Основной ущерб болезнь наносит за счет больших потерь пчел на пасеках, недополучения ценной продукции пчеловодства. Относится к карантинным болезням (список Б Международного эпизоотического бюро). И несмотря на то, что меры борьбы с варроатозом давно изучены и разработаны, он до сих пор представляет серьезную опасность и обязывает каждого пчеловода своевременно и качественно принимать меры по борьбе с этим паразитом пчел. К тому же очень часто препараты, используемые для борьбы с варроатозом в качестве акарицидов, бывают недостаточно эффективными, редко толерантными, фактически являющимися плацебо, и даже токсичными для пчел. В связи с этим изыскание новых наиболее эффективных противоклещевых препаратов осуществляется постоянно.
В данном видео Вы увидите один из методов диагностики пчел на наличие клещем варроа. Метод смыва.
Варроадез: инструкция по применению
Лучше использовать два способа по применению Варроадеза: инструкция и рекомендации тех пасечников, которые уже использовали это средство. Это позволит учесть нюансы обработки улья, но при этом не заниматься экспериментами, которые могут только навредить здоровью ваших питомцев.
Основные правила использования пластин против клещей:
- Как и большинство средств, этот препарат применяют в два ключевых периода для пчелиного гнезда: весной, когда прошёл первый осмотр, и осенью, когда произошла крайняя откачка мёда из улья.
- Концентрация вещества рассчитывается по количеству полосок: для сильных и больших семей, в которых насчитывается до пятнадцати рамок, используют две полоски. На слабые и малые семьи нужна всего одна полоска.
- Крепят пластины, как правило, в центре улья. Но некоторые пчеловоды рекомендуют крепить вторую полоску рядом с летком, так как ни одна пчела не сможет залететь в улей, не пройдя через главный вход, и тем самым коснуться поверхности пластины.
Цена на данное средства, как и на большинство препаратов в виде полосок, невысокая — в пределах двухсот рублей.
Инструкция по применению
Упаковку с Варроадезом открывают непосредственно перед его применением. Полоску препарата подвешивают в улье между центральными соторамками. Перед размещением полоски в улье следует проделать в ней по краям отверстия, чтобы зафиксировать ее точно в центре «улочки», по которой будут двигаться пчелы.
В зависимости от количества пчел и расплода в улье, время пребывания в нем полосок составляет от 3 до 30 дней.
Инструкция
Инструкция по применению Варроадеза предусматривает два способа эффективного использования средства. Чёткое соблюдение всех правил позволит избежать вреда для здоровья ваших питомцев.
- Лекарство следует применять во время ключевых периодов пчелиного улья. Их два, это весна, когда закончился первый осмотр и осень, после последней откачки меда из гнезда;
- На маленькие семьи используем 1 полоску, на 5-30 дней в зависимости от заклещенности. Если семья насчитывает свыше 12 рамок, ставим две полоски. Несоблюдение порции может негативно сказаться на здоровье питомцев;
- Первую пластину следует крепить в центре улья, а вторую рядом с летком. Таким образом каждая пчела коснется пластины залетая в улей;
- Обработку пчел необходимо прекратить за 14 дней до начала планового осмотра, чтобы исключить вероятность попадания лекарства в товарный мед;

Особые инструкции по применению Варроадеза:
- Упаковку следует открыть непосредственно перед началом обработкой пчел.
- Мед инфицированных лекарством пчел годится в пищу без дополнительных противопоказаний.
Способ применения
ЭНДОВИРАЗУ применяют ингаляционно в форме аэрозоля, интраназально или наружно.
ЭНДОВИРАЗУ в количестве 50000 единиц активности (содержимое одного флакона) растворяют в 150 мл кипяченой воды при комнатной температуре и в этот раствор добавляют 0,62 г магния сернокислого (содержимое второго флакона). ЭНДОВИРАЗУ в количестве 10000 единиц активности (содержимое одного флакона) растворяют в 30 мл кипяченой воды при комнатной температуре и в этот раствор добавляют 0,12 г магния сернокислого (содержимое второго флакона). Раствор сохраняет свои свойства в течение одних суток при комнатной температуре.
Для лечения вирусных болезней пчёл ЭНДОВИРАЗУ применяют в весенне-летний период при температуре воздуха не ниже 14С до 7 раз по показаниям с интервалом 7-10 дней. Для 2 пчелосемей ЭНДОВИРАЗУ в количестве 10000 единиц активности (содержимое одного флакона) растворяют в 100 мл кипяченой воды при комнатной температуре и в этот раствор добавляют 0,12 г магния сернокислого (содержимое второго флакона). Для 10 пчелосемей препарат ЭНДОВИРАЗА в количестве 50000 единиц активности (содержимое одного флакона) растворяют в 500 мл кипяченой воды при комнатной температуре и в этот раствор добавляют 0,62 г магния сернокислого (содержимое второго флакона).
С целью профилактики и стимуляции развития пчелиных семей обработку пчёл проводят не менее 3 раз с интервалом 7-10 дней. Для улучшения зимовки больных семей проводят однократную обработку в конце пчеловодного сезона до комплектования семей.
Пчелиные семьи обрабатывают раствором ЭНДОВИРАЗЫ утром, до начала лёта пчёл, или вечером, после окончания лёта, с помощью механического мелкодисперсного аэрозольного распылителя (типа «Росинка», краскораспылителя «Блеск» или подобного).
Каждую улочку опрыскивают в течение 2-3 секунд в дозе 4-5 мл. Расход раствора препарата на одну пчелосемью силой 10-12 стандартных рамок составляет 40-50 мл (5000 единиц активности).
Обработка пчелосемей озоном
Способ борьбы с варроатозом, заключающийся в обработке пчел биологически активным газообразным веществом, отличающийся тем, что в качестве биологически активного газообразного вещества используют озоновоздушную смесь с концентрацией озона в воздухе, подаваемом в улей от 500 до 2000 мг/м3, со временем обработки от 20 до 120 мин, обрабатывают четырехкратно с интервалом до 7 дней.
| Концентрация озона, мг/м3 | Индекс встречаемости клещей Варроа на пчелах До обработки, % | Индекс встречаемости клещей Варроа на пчелах После обработки, % | Эффективность обработки, % |
| 19,5 | 19,75 | ||
| 500 | 19,25 | 14,5 | 24,6 |
| 750 | 18,75 | 10,4 | 44,5 |
| 1000 | 19,5 | 7,5 | 61,5 |
| 1250 | 20,25 | 6,3 | 69,6 |
| 1500 | 19,75 | 4,2 | 78,7 |
| 1750 | 19,25 | 2,75 | 85,7 |
| 2000 | 18,75 | 1,15 | 93,8 |
После проведенной
четырехкратной обработки опытные и контрольные семьи пчел осмотрели на наличие
клинических признаков заболевания по параметру степени заклещеванности.
Результаты контрольного осмотра опытных семей свидетельствовали об
выздоровлении, что было также подтверждено лабораторными исследования ми.
Состоя ние
контрольных семей, не подвергавшихся лечебным обработкам, за время испытаний не
улучшилось.
При изучении
воздействия озона на возбудителя варроатоза установлено, что озон вызывает ожег
слизистых оболочек присосок клещей, в результате чего они теря ют способность
удерживаться на пчелах, осыпаются на дно улья и погибают от голода.
За время проведения эксперимента
отрицательного воздействия на жизнедея тельность пчелиных семей не выя влено.
Визуальных изменения в поведении пчел за время обработки не обнаружено.
Согласно проведенным лабораторным анализам отрицательного влияния озонообработки на продукты пчеловодства не обнаружено, что говорит о экологической чистоте данного способа обработки.

























































